+49 (0) 461 5808-2000
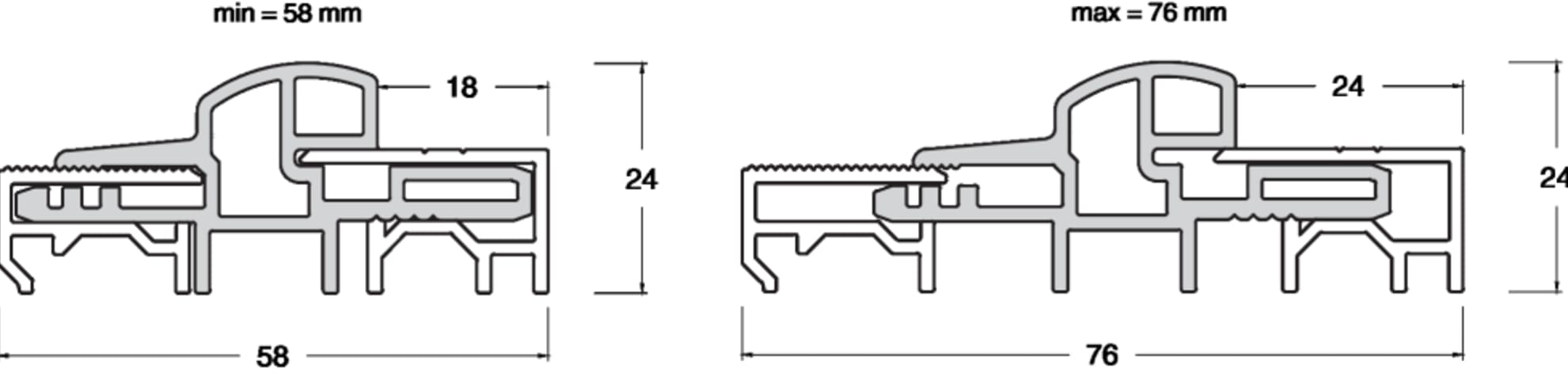
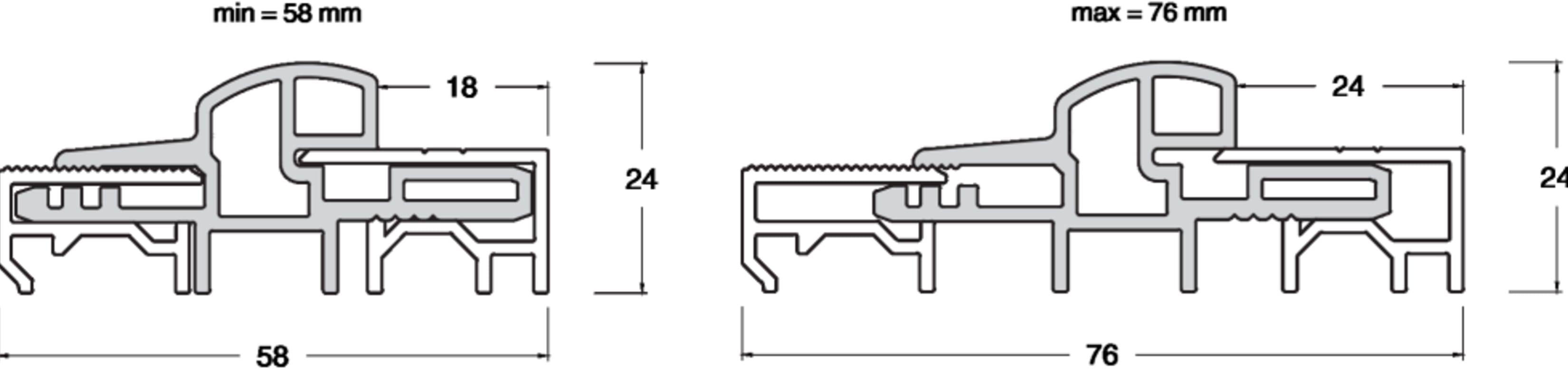
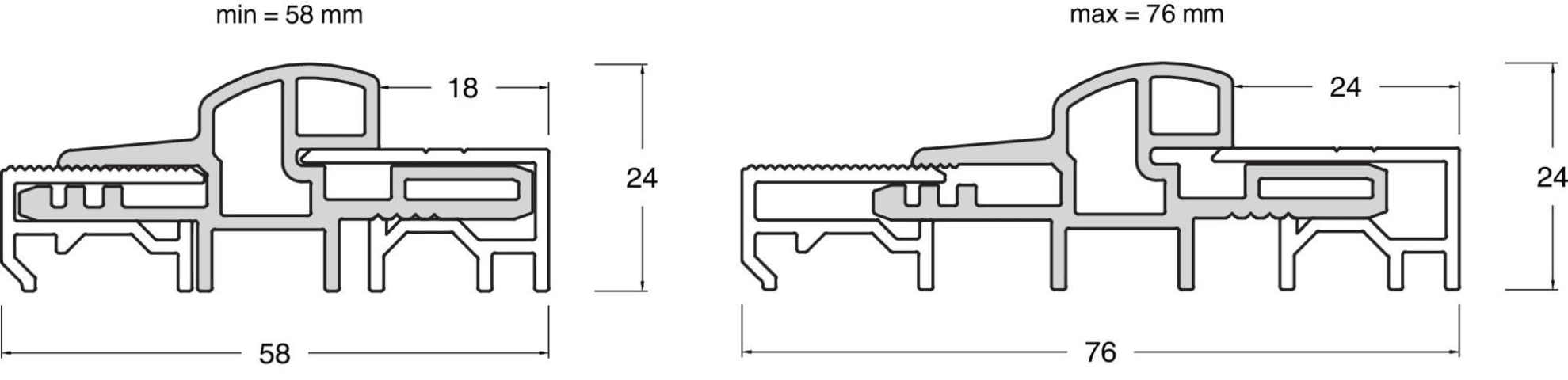
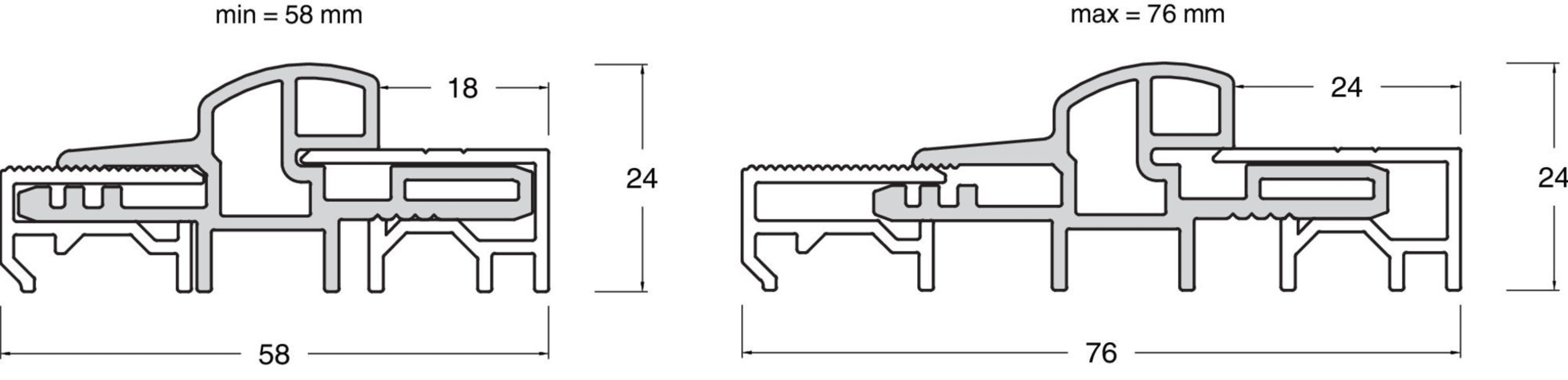
Bodenschwelle Transit ausziehbar mit thermischer Trennung S=58-76 H=24 L=5.000 bronze F3/4