fischer Kippdübel KD 8, 080178

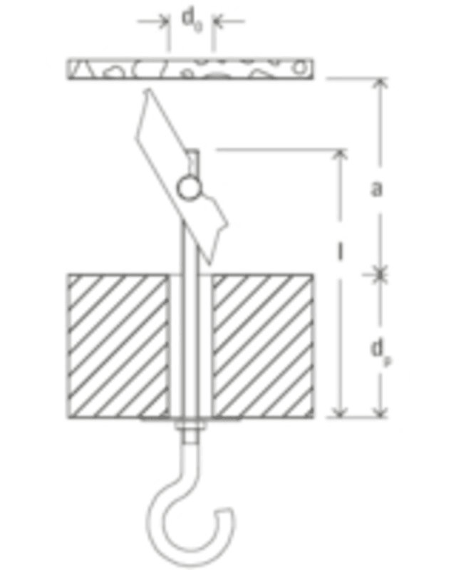
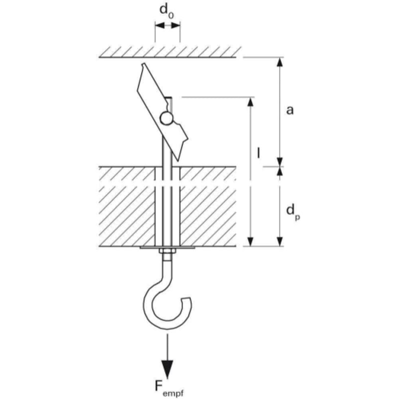
Mit dem fischer Kippdübel KD können leichte Anbauteile wie leichte Regale und leichte Hängeschränke in Gipskarton- und Gipsfaserplatten, Spanplatten und Hohldecken aus Ziegelstein und Beton befestigt

more details
Meesenburg Article Number:
Manufacturer item no.: 080178
EAN: 4006209801789
Verkaufseinheit

Product advantages

The long threaded rod allows for use with different plate thicknesses and component thicknesses.
The flap elements open automatically and allow for easy assembly.
No special assembly tool required
Product properties
Product properties

Description

Mit dem fischer Kippdübel KD können leichte Anbauteile wie leichte Regale und leichte Hängeschränke in Gipskarton- und Gipsfaserplatten, Spanplatten und Hohldecken aus Ziegelstein und Beton befestigt werden. Der Kippdübel wird in der Vorsteckmontage in das Bohrloch eingeführt und klappt hinter der Platte selbstständig auf. Dies erfordert kein spezielles Montagewerkzeug und erlaubt eine komfortable und schnelle Montage.
Product properties
Material
Anchorage base
Weight
1593.9 g
Brand
fischerwerke_gmbh_co_kg
technical data
Drilling diameter: 20 [mm] Dowel length: 100 [mm] Design: with threaded shaft Surface protection: GALV Material (ETIM): hardened steel Design: with screw Dowel material: Metal Packaging variant: Folding box Thread: M8 x 100 [mm] Max. plate thickness: 55 [mm] Min. cavity depth: 75 [mm] Material / corrosion protection: galvanised
chevron-leftAlertBrowse fileDownload fileFileImagePdfPdfWordTextExcelPowerpointArchiveCsvAudioVideoSpinnerCalendarSort NoneSort ASCSort DESCReturn arrowVisibleVisibleHelmetSkrewWorker