+49 (0) 461 5808-2000
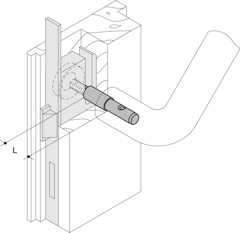
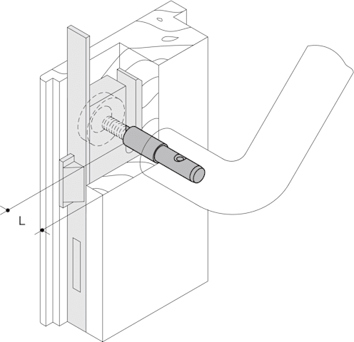
HEWI Stoßgriff-Befestigung BA4.60.70; Produkttyp: Stoßgriff-Befestigung; Produkttyp (Hersteller): Stoßgriff-Befestigung; Befestigungsart: einseitig; Montageart: Aufsteckmontage; Anwendung: für Griffe