+49 (0) 461 5808-2000
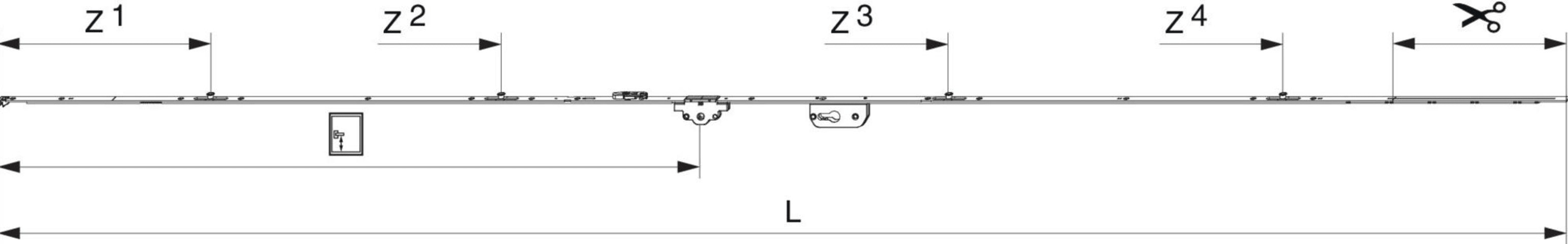
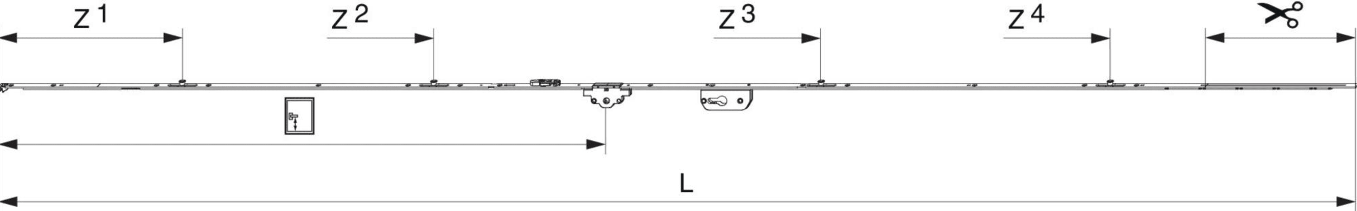
MM Getriebe fix DK DM 40 sperrbar PZ 2450 mit 4 i.S. GM 1.050 FFH 2.201-2.450 silber