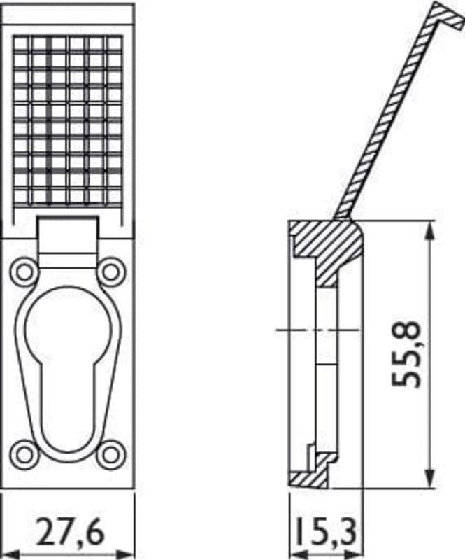
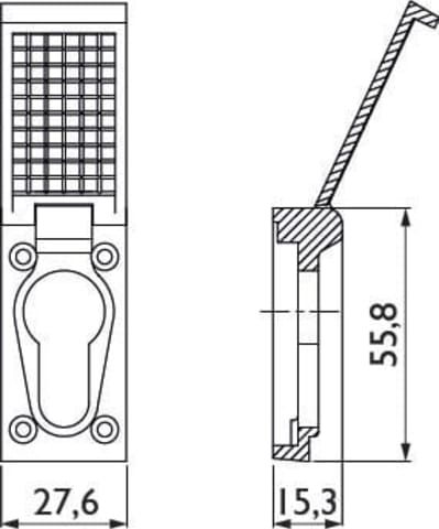
Regenschutzrosette 2080, 55,8 x 15.3 x 27,6 mm, ohne Schrauben, Oberfl. F1 (Silberfarben eloxiert)
mehr erfahren
Aluminium
silber