+49 (0) 461 5808-2000
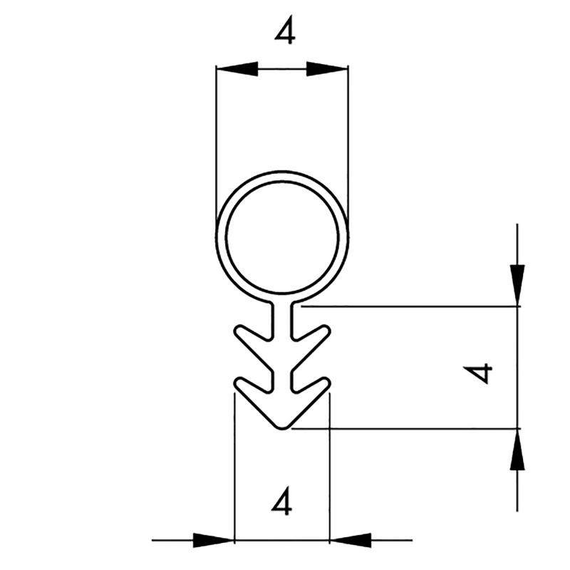
Silikon-Einfräsdichtung "Tannenzapfen" für 3 mm Nut. Durchmesser: 4, 6, 8, oder 10 mm.