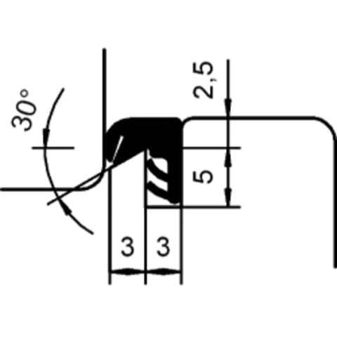
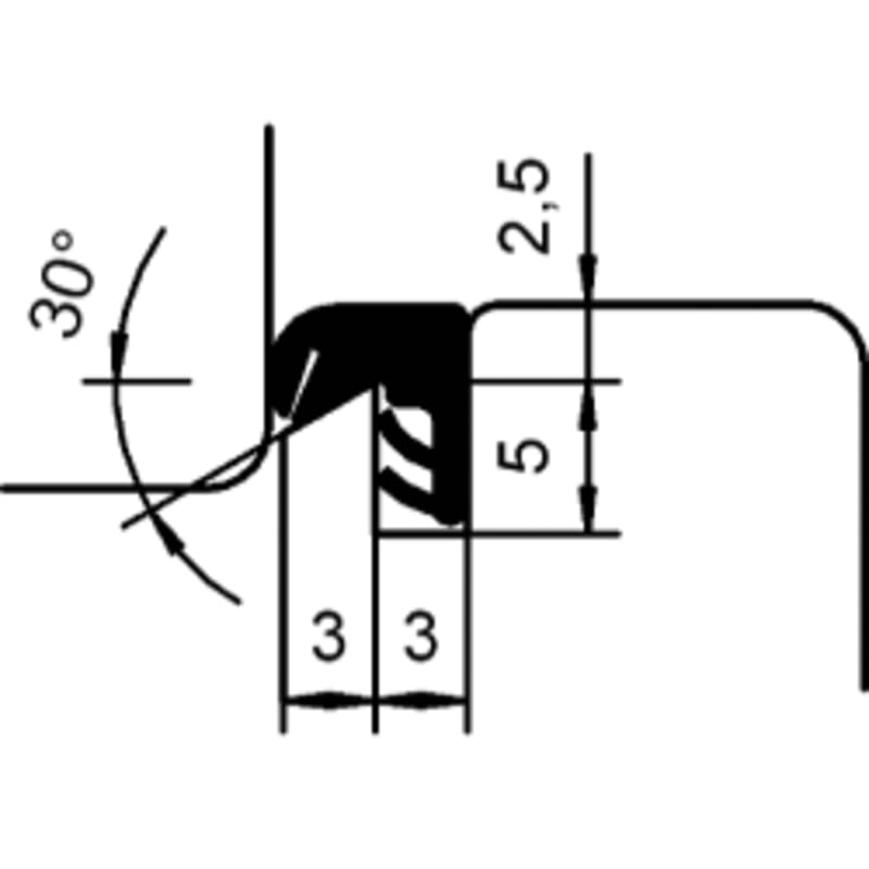
• Produktbeschreibung: für den Flügel von Fenstern und Fenstertüren aus Holz und Holz‑Aluminium mit steiler Eindrehkurve Verarbeitung: klinken oder schweißen Klassifizierung: EN 12365‑1 – W25243 Bedie
mehr erfahren
thermoplastischer Elastomer-Schaum
braun