+49 (0) 461 5808-2000
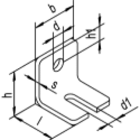
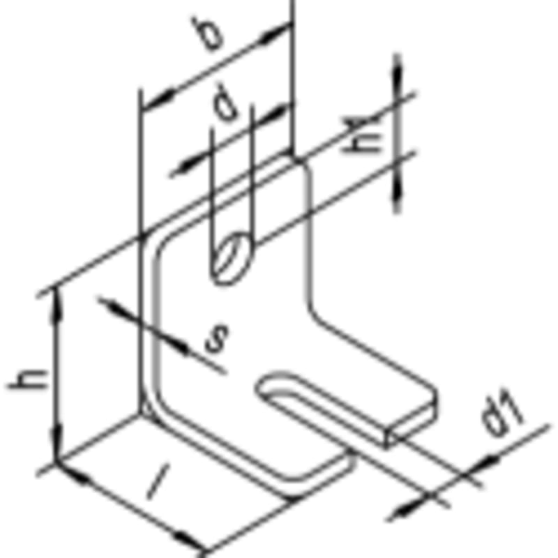
Winkelbefestigung mit Seitenverstellmöglichkeit, verwendbar mit einer höhenverstellbaren Muffe 104.